淋雨試驗箱GB 4208-2008/IEC60529:200測試標準,推薦使用科賽德品牌淋雨試驗箱IPX3、IPX4,完全能符合使用標準。
1 范圍和目的
本標準適用于額定電壓不超過72.5KV,借助外殼防護的電氣設備的防護分級。
本標準的目的如下:
a) 規定電氣設備下述內容的外殼防護等級:
1) 防止人體接近殼內危險部件:
2) 防止固體異物進入殼內設備;
3) 防止由于水進入殼內對設備造成有害影響。
b) 防護等級的標識。
c) 各防護等級的要求。
d) 按本標準的要求對外殼作驗證試驗。
各類產品引用外殼防護等級的程度和方式,以及采用何種外殼,留待產品標準決定,對具體的防護等級所采用的試驗應符合本標準的規定,必要時,在有相產品標準中可增加補充要求。可在有關產品標準中作具體規定的細則見附錄B。
對特殊型式的設備,產品標準可以規定不同的要求,但至少要保證相同的安全水平。
本標準僅考慮在各方面都符合有關產品標準規定的外殼,在正常使用條件下,外殼的材料和工藝應保證達到所需要的防護等級。
如果某類設備滿足試驗一般要求而且所選擇的防護等級適用于該設備型式,則本標準也適用于該型式設備的空外殼。
有關機械損壞、銹蝕、腐蝕性溶劑(如切割液)、霉菌、蟲害、太陽輻射、結冰、潮濕(如凝露引起的)、爆炸性氣體等外部影響或環境條件對外殼和殼內設備破壞的防護措施以及防止下外殼外部危險運動部件(如風扇)的接觸由有關產品標準規定。
不與外殼連接的隔板以及專門為人身安全設置的阻擋物,不看作外殼的一部分,本標準不予以研究。
2? 規范性引用文件
下列文件中的條款通過本標準的引用而成為本標準的條款。凡是注日期的引用文件,其隨后所有的修改單(不包括勘誤的內容話)修訂版均不適用于本部分,然而,鼓勵根據本標準達成協議的各方研究是否可使用這些文件的最新版本。凡是不注日期的引用文件,其最新版本適用于本標準。
GB/T 311.2-2002 絕緣配合? 第2部分? 高壓輸變電設備的絕緣配合使用導則(eqv IEC 60071-2:1996)
BG/T 2421-1999 電工電子產品環境試驗 第1部分:總則(idt IEC 60068-1:1988)
IEC 60050-195:1998 國際電工詞匯 第195章:接地和電擊防護
IEC 60050-826:1982 國際電工詞匯 第826章:建筑物電氣裝置
IEC 60068-2-68:1994 環境試驗 第2部分:試驗 試驗L:灰塵和沙塵
3? 術語和定義
下列術語和定義適用于本標準。
3.1
外殼:
能防止設備受到某些外部影響并在各個方向防止直接接觸的設備部件。
注:本條定義來自現行國際電工詞匯(IEV),在本標準的范圍內作如下解釋:
1) 外殼提供人或畜接近殼內危險部件的防護。
2) 防止或限制本標準規定的試具進人的隔板,形成孔洞或其他開口的部件,不論是附在外殼上還是包覆設備的,都算作外殼的一部分,不使用鑰匙或工具就能移除的部件除外。
3.2
直接接觸
人或畜與帶電部分的接觸。
注:本IEV定義給出信息,本標準中“直接接觸”被“接近危險部件”取代。
3.3
防護等級
按標準規定的檢驗方法,外殼對接近危險部件、防止固體異物進入或水進入所提供的保護程度。
3.3
IP代碼
表明外殼對人接近危險部件、防止固體異物或水進入的防護以及與這些防護有關的附加信息的代碼系統。
3.5
危險部件
接近或接觸時有危險的部件。
3.5.1
危險帶電部件
受到某些外部影響條件會導致電擊的帶電部件。
(IEC 60050-195-1995,195-06-05)
3.5.2
危險機械部件
接觸時有危險的運動部件。光滑旋轉軸除外。
3.6
外殼對接近危險部件的防護
外殼對人體:
——接觸危險的低壓帶電部件的防護;
——接觸危險的機械部件的防護;
——在外殼內部小于足夠的間隙接近危險的高壓帶電部件的防護。
注:這種防護可借助于:
——外殼本身;
——作為外殼一部分的隔板或借助于殼內距離來達到。
3.7
防止接近危險部件的足夠間隙
能防止試具與危險部件接觸或接近的距離。
3.8
觸及試具
能方便地模仿人體的一部分或模仿工具或類似物,由人手持著來檢驗距離危險部件是否有足夠間隙的檢驗工具。
3.9
物體試具
模仿固體異物檢驗其進入外殼的可能性的檢驗工具。
3.10
開口
外殼本身設置的或通過試具施加規定的外力后形成的孔洞或縫隙。
4? 標識
外殼提供的防護等級用IP代碼以下述方式表示。
4.1 IP代碼的配置

不要求規定特征數字時,由字母“X”代替(如果兩個字母都省略則用“XX”代替)。
附加字母和(或)補充字母可省略,不需代替。
當使用一個以上的補充字母時,應按字母順序排列。
當外殼采用不同安裝方式提供不同的防護等級時,制造廠應在相應安裝方式的說明書上表明該防護等級。
外殼的標識方法詳見第10章。
4.2 IP代碼的各要素及含義
IP代碼各要素的簡要說明見下表。詳細說明見表中最后一欄所標明的章條。


4.3? IP代碼應用舉例
以下是IP代碼的應用及字母配置示例,更多的示例見第9章。
IP44——無附加字母,無可選字母。
IPX5——省略第一位特征數字。
IP2X——省略第二位特征數字。
IP20C——使用附加字母。
IPXXC——省略兩位特征數字,使用附加字母。
IPX1C——省略第一位特征數字,使用附加字母。
IP3XD——省略第二位特征數字,使用附加字母。
IP23S——使用補充字母。
IP21CM——使用附加字母和補充字母。
IPX5/IPX7——針對不同的作用,給出防噴水和防短時間浸水的兩種不同的防護等級。
5? 第一位特征數字所表示的防止接近危險部件和防止固體異物進入的防護等級
標識第一位特征數字表示5.1和5.2兩個條件都能滿足。
第一位特征數字意指:
——外殼通過防止人體的一部分或人手持物體接近危險部件對人提供防護,同時
——外殼通過防止固體異物進入設備對設備提供防護。
當外殼也符合低于某一防護等級的所有各級時,應僅以該數字標識這一個等級。
如果試驗明顯地適用于任一較低防護等級時,則低于該等級的試驗不必進行。
5.1 對接近危險部件的防護
表1給出對接近危險部件的防護等級的簡短說明和含義。
表中僅由第一位特征數字的規定,試具與危險部件之間保持足夠的間隙。
試驗見第12章。

5.2? 對于固體異物進入的防護
表2給出對防止固體異物(包括灰塵)進入的防護等級的簡短說明和含義。
表中僅由第一位特征數字規定防護等級,簡要說明和含義不作為防護等級的規定。
防止固體異物進入,當表2中第一位特征數字1或2時,指物體試具不得完全進入外殼,意即球的整個直徑不得通過外殼開口。第一位特征數字為3或4時,物體試具完全不能進入外殼。
數字為5的防塵外殼,允許在某些規定條件下進入數量有限的灰塵。
數字為6的塵密外殼,不允許任何灰塵進入。
注:第一位特征素質為1至4的外殼應能防止三個相互垂直的尺寸都超過表3第三欄相應數字、形狀規則或不規則的固體物體進入外殼。
試驗見第13章。

第二位特征數字所表示的防止水進入的防護等級
第二位特征數字表示外殼防止由于進水而對設備造成有害影響的防護等級。
試驗用清水進行。試驗前不得用高壓水和(或)使用溶劑清洗試樣。
表3給出了第二位特征數字所代表的防護等級的簡要說明和含義。簡要說明和含義不作為防護等
級的規定。
試驗見第14 章。
第二位特征數字為6 及低于6 的各級,其標識的等級也表示符合低于該級的各級要求。因此,如果
試驗明顯地適用于任一低于該級的所有各級,則低于該級的試驗不必進行。
僅標志第二位特征數字為7 或8 的外殼僅適用于短時間浸水或連續浸水,不適合噴水(第二位特征
數字標識為5 或6),因此不必符合數字為5 或6 的要求,除非有下示的雙標志。

“多用”指外殼必須滿足可防噴水又能短時或持續潛水的要求。
“受限”指外殼僅僅對短時或持續潛水適合,而對噴水不適合。

7? 附加字母所表示的防止接近危險部件的防護等級
附加字母表示對人接近危險部件的防護等級。
附加字母僅用于:
一接近危險部件的實際防護高于第一位特征數字代表的防護等級;
第一位特征數字用“X”代替,僅需表示對接近危險部件的防護等級。
例如,這類較高等級的防護是由擋板、開口的適當形狀或與殼內部件的距離來達到的。
表4 列出了能方便地代表人體的一部分或人手持物體以及對接近危險部件的防護等級的含義等內
容,這些內容均由附加字母表示。

如果外殼適用于低于某一等級的各級,則僅要求用該附加字母標識該等級。如果試驗明顯地適用
于任何低于該級的所有各級,則低于該等級的試驗不必進行。
試驗見第15章。
IP代碼的示例見附錄A。
8? 補充字母
在有關產品標準中,可由補充字母表示補充的內容。補充字母放在第二位特征數字或附加字母
補充的內容應與本標準的要求保持一致,產品標準應明確說明進行該級試驗的補充要求。
補充內容的標識字母及含義如下:

其他字母可在產品標準中使用。為了避免重復使用補充字母,產品標準引用新字母的要求見B.8。
若無字母S和M,則表示防護等級與設備部件是否運行無關,需要在設備運行和靜止時都做試驗。
但如果試驗在另一條件下明顯地可以通過時,一般做一個條件的試驗就足夠了。
9 IP代碼的標識示例
9.1 未使用可選擇字母的IP代碼

外殼帶有上述IP代碼,其中:
(3)一防止人手持直徑不小于2.5 mm 的工具接近危險部件;
一一防止直徑不小于2.5 mm 的固體異物進人設備外殼內。
防止由于在外殼各個方向濺水對設備造成有害影響。
使用可選擇字母的IP代碼
9.2? 使用可選擇字母的IP代碼:

外殼帶有上述IP 代碼,其中:
(2)一一防止人用手指接近危險部件;
防止直徑不小于12.5 mm的固體異物進人外殼內。
(3)一防止淋水對外殼內設備的有害影響。
(C)一防止人手持直徑不小于2.5 mm 長度不超過100 mm 的工具接近危險部件(工具應全部穿
過外殼,直至擋盤)。
防止進水造成有害影響的試驗是在所有設備部件靜止時進行。
(S)一防止進水造成有害影響的試驗是在所有設備部件靜止進行。
10 標志
產品標準應對標志的要求做出規定。
對于下述情況,產品標準應對標志方法也做出適當規定;
當外殼的一部分與另一部分的防護等級不同時;
安裝位置對防護等級有影響時;
一一須說明最大潛水深度和時間時。
11 試驗一般要求
防水防塵試驗的環境條件
11.1 防止防塵試驗的環境條件
除非有關產品標準另有規定,試驗應在GB/T 2421-1999 規定的標準環境條件下進行。
試驗時,推薦的環境條件如下:
溫度范圍:15C~35C;
相對濕度:25%~75%;
大氣壓力:86 kPa~106 kPa(860 mbar~1060 mbar)。
試樣
11.2 試樣
本標準規定的試驗是型式試驗。
除非產品標準另有規定,每次試驗用樣品應是清潔的新制品。所有部件應按制造廠指定的狀態安
裝就位。
如試驗不能以整臺設備進行,應以有代表性的部件或以有相同比例設計的較小的設備進行。
有關產品標準應對以下類似細節做出規定:
一試樣數量;
一試樣安裝、組合、定位的條件(如天花板、地板或墻上安裝);
注: 這也用于設備計劃與其他相關設備一起使用時,比如器件單獨使用或組合使用時。
一預處理的方法(如有);
一試驗時帶電與否;
一試驗時部件運轉與否。
如果產品標準沒有規定細節,應由制造廠說明書規定。
試驗要求的應用與試驗結果判斷
11.3 試驗要求的應用與試驗結果判斷
試驗一般要求的應用及設備有泄水孔、通風孔時試驗的接受條件由有關產品標準規定。如無這些規定,應按本標準的規定進行。
試驗結果的判斷由有關產品標準規定。如沒有規定,本標準的接受條件應作為最低要求。
11.4 第一位特征數字試驗條件的組合
標識第一位特征數字意味著滿足該數字的所有試驗條件。
第一位特征數字的試驗條件見表5。


11.5 空外殼
如果被試外殼內部沒有設備,外殼的制造廠應在說明書中詳細說明危險部件或者會因異物或水進
人而造成影響的部件所在的位置及預留的空間。
最后組裝的生產廠應能保證電氣設備封裝進外殼后滿足最終產品的防護等級的要求。
12 第一位特征數字所表示的對接近危險部件防護的試驗
12.1 試具
接近危險部件防護試驗的試具見表6。
12.2 試驗條件
試具被推人或(當第一位特征數字為2 試驗時)插人外殼的任何開口所用的力由表6 規定。
進行低壓設備的試驗時,在試具與殼內危險部件之間串接一個指示燈,并供以40 V~50 V 之間的
安全特低電壓”。如果危險帶電部件表面有一層漆膜或氧化層或有其他類似方法的保護,則試驗時包
覆一層金屬箔,并與正常工作時帶電的部件作電聯結。
本指示燈電路也可用于高壓設備的危險運動部件。
如有可能,應使外殼內的運動部件緩慢運動。
12.3 接受條件
如果試具與危險部件之間有足夠的間隙,則防護合格。
第一位特征數字為1的試驗,直徑50 mm的試具不得完全進人開口。
第一位特征數字為2 的試驗,鉸接試指可進人80mm 長,但擋盤($50 mmX20 mm)不得進人開口。
從直線位置開始,試指的兩個接點應繞相鄰面的軸線在90^范圍內自由彎曲。應使試指在每一個可能
的位置上活動。
示例見附錄A。
本標準中“足夠的間隙”指:
12.3.1對于低壓設備(額定電壓:交流不超過1kV,直流不超過1.5 kV)
試具不能觸及危險帶電部件。
1)從安全角度考慮,試指與殼內帶電部分之間所接指示燈的電源電壓應為安全特低電壓,IEC 60529:1989 規定此
電源電壓在“40 V~50 V之間的特低電壓”。


如果足夠的間隙是通過試具與危險部件間的指示燈電路來檢驗,試驗時指示燈應不亮。
注: 某些型式的電氣設備內部產生的最高電壓(工作電壓的方均根值或直流值)比設備的額定電壓值要高。產品標
準在確定耐電壓試驗的電壓和足夠的間隙時,應考慮這個最大電壓值的影響。
12.3.2 對于高壓設備(額定電壓:交流超過1kV,直流超過1.5 kV)
當試具放在最不利的位置時,設備應能承受有關產品標準規定的適用于該設備的耐電壓試驗。
檢驗還可通過觀察規定的空氣中的間隙尺寸來確定。這個間隙應能保證在最不利的電場分布下通過耐電壓試驗(見GB/T 311.2)。
如果外殼包括有不同電壓等級的幾個部分,應對每一部分確定足夠間隙的適當驗收條件。
注: 某些型式的電氣設備內部產生的最高電壓(工作電壓的方均根值或直流值)比設備的額定電壓值要高。產品標
準在確定耐電壓試驗的電壓和足夠的間隙時,應考慮這個最高電壓值的影響。
12.3.3 對有危險的機械部件的設備
試具不得觸及危險的機械部件。
如果足夠的間隙是通過試具與危險部件之間的指示燈電路來檢驗,試驗時指示燈應不亮。
13 第一位特征數字所表示的防止固體異物進入的試驗
13.1 試驗方法
試驗方法和主要試驗條件見表7。
13.2 第一位特征數字為1.2.3、4 的試驗條件
物體試具推人外殼開口所用的力由表7 規定。

13.3 第一位特征數字為1.2.3、4 的接受條件
如果試具的直徑不能通過任何開口,則試驗合格。
注: 表7中第一位特征數字為3和4 的試具用來模仿球形異物。對于必須檢驗的開口所使用的物體試具,如果外殼
開口的孔道不貫通或者是彎曲的.對可運動的球形物體能否進人有懷疑,可檢查圖紙或對待檢查處設計一個專
用通道.并用物體試具以規定的力推向該處。
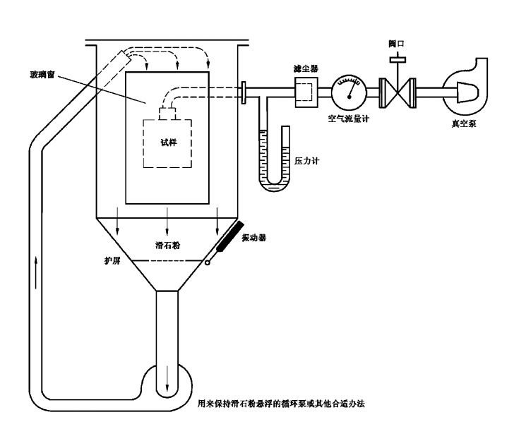
13.4 第一位特征數字為5 和6 的防塵試驗
試驗應在防塵箱中進行,其基本原理如圖2 所示。密閉試驗箱內的粉末循環泵可用能使滑石粉懸
浮的其他方法代替。滑石粉應用金屬方孔篩濾過。金屬絲直徑50 pm,篩孔尺寸為75 pm。滑石粉用
量為每立方米試驗箱容積2 kg,使用次數不得超過20 次。
注: 滑石粉的選用應符合人體健康與安全的各項規定。
外殼類型須為下列二者之一:
第一種類型:設備正常工作周期內殼內的氣壓低于周圍大氣壓力,例如因熱循環效應引起的。
第二種類型:外殼內氣壓與周圍大氣壓力相同。
對于第一種類型的外殼:
被試外殼放在試驗箱內,殼內壓力用真空泵保持低于大氣壓。抽氣孔應連到專為試驗設置的孔上。
如果專門的產品標準沒有規定,這個孔應設在緊靠易損部件的位置。
如果不能設置專門的孔,抽氣管應連在電纜入口上。如還有其他的孔(如更多的電纜人口或泄水
孔),這些孔應保持正常使用狀態。
試驗目的是利用壓差把箱內空氣抽人被試設備內,抽氣量為80倍被試外殼容積,抽氣速度每小時不超過60 倍外殼容積。任何情況下壓差不得超過2 kPa(20 mbar).
如抽氣速度為每小時40~60 倍外殼容積,則試驗進行2 h。
如最大壓差為2 kPa(20 mbar),而抽氣速度低于每小時40倍外殼容積,則應連續抽滿80 倍容積或抽滿8 h后,試驗才可停止。
對于第二種類型的外殼:
被試外殼按正常工作位置放人試驗箱內,但不與真空泵連接。在正常情況下開啟的泄水孔,試驗期
間應保持開啟。試驗持續8 h。
對于上述兩種類型的外殼,如不能將整臺設備置于試驗箱內作試驗,可選用下列方法之一進行:
用外殼的各個封閉部分作試驗;
a)
用外殼有代表性的部件試驗,包括組件(如門、通風孔、接頭、軸封等),試驗時這些部件應安裝
b)
就位;
用具有相同結構、按比例縮小的設備進行試驗。
c)
對于后兩種情況,試驗時抽出設備的空氣體積,應與整臺設備時規定相同。
13.5 第一位特征數字為5 的特殊條件
第一位特征數字為5 的試驗條件
13.5.1 除了有關產品標準規定外殼為第二種以外,外殼都看作第一種。
13.5.2 第一位特征數字為5 的接受條件
試驗后,觀察滑石粉沉積量及沉積地點,如果同其他灰塵一樣,不足以影響設備的正常操作或安全,
即認為試驗合格。除非有關產品標準明確規定了特例,在可有沿爬電距離導致漏電起痕處不允許有灰
塵沉積。
13.6 第一位特征數字為6 的特殊條件
13.6.1 第一位特征數字為6 的試驗條件
無論外殼內壓力是否減至低于大氣壓力,都看作是第一種外殼。
13.6.2 第一位特征數字為6 的接受條件
試驗后殼內無明顯的灰塵沉積,即認為試驗合格。
14 第二位特征數字所表示的防止水進入的試驗
試驗方法
14.1 試驗方法
試驗方法和主要試驗條件見表8。

-760x369.png)
14.2 試驗條件
試驗方法和主要試驗條件見表8。
防護等級的細節,特別是第二位特征數字為5/6(噴水)和7/8(潛水)見第6 章。
試驗用清水進行。
進行IPX1至IPX6的試驗,水溫與試驗時試樣的溫差應不大于5 K。如果水溫低于試樣超過5 K,
應使外殼內外保持壓力平衡。IPX7試驗水溫的要求見14.2.7。
試驗時,殼內水分可能有部分冷凝。凝露水的沉積不要誤以為是進水。
外殼表面積的計算誤差應在10%以內。
設備在帶電情況下試驗時,要采取足夠的安全措施。
14.2.1 第二位特征數字為1的滴水箱試驗
試驗用設備應能在外殼整個面上產生均勻水流。這種設備的示例如圖3a)。
外殼置于轉速為1r/min 的轉臺上,偏心距(轉臺軸線與試樣軸線的距離)大約為100 mm。
外殼在滴水箱下面置于正常工作位置,滴水箱底部應大于的俯視圖面。除安裝在墻上或天花板上
的設備外,被試外殼的支承物應比外殼底部小。
對安裝在墻上或天花板上的設備,應按正常使用位置安裝在木板上,木板的尺寸等于設備在正常使
用時與墻或天花板的接觸面積。
試驗進行10 min。
注: 當滴水箱底部比被試外殼小時,被試外殼可分成幾部分,每部分外殼表面的大小應能使滴水設備足以將其覆
蓋。試驗進行到把外殼的全部表面滴水至規定時間止。
14.2.2 第二位特征數字為2 的滴水箱試驗
滴水箱的規定同14.2.1。
調節水流速度,使其符合表8 規定。
不同于第二位特征數字為1的試驗,支承外殼的臺不旋轉。
被試外殼在四個傾斜的固定位置各試驗2.5 min,這四個位置在兩個互相垂直的平面上與垂線各
傾斜15^(見圖3b))。
試驗總持續時間為10 min.
第二位特征數字為3 的擺管或淋水噴頭試驗
14.2.3 試驗(按相關產品標準的規定)用圖4 和圖5 示意的兩種試驗設備之一進行。
使用圖4 試驗設備(擺管)的條件
按表9 規定調節總的水流量,并用水流計測量。
擺管中點兩邊各60“弧段內布有噴水孔。支承物不必打孔。
被試外殼放在擺管半圓中心。擺管沿垂線兩邊各擺動60^,共120*,每次擺動(2X120^)約需4 s,試驗持續時間5 min。然后把外殼沿水平方向旋轉90^,再試驗5 min。
擺管最大允許半徑為1600 mm。
如果某些型式的設備試驗時外殼所有部分不能全部淋濕,可上下調整外殼支承物。這種情況
應優先使用圖5 所示手持試驗設備(淋水噴頭)。
b)
使用圖5試驗設備(淋水噴頭)的條件
本試驗應安裝帶平衡重物的擋板。
調節水壓,使達到規定出水量。所需壓力在50 kPa~150 kPa 的范圍。試驗期間壓力應維持
恒定。
試驗時間按外殼表面積計算每平方米lmin(不包括安裝面積),最少5 min.
14.2.4 第二位特征數字為4 的擺管或淋水噴頭試驗
試驗(按相關產品標準的規定)用圖4 和圖5 示意的兩種試驗設備之一進行。
a) 使用圖4 試驗設備(擺管)的條件
噴水孔布滿于擺管半圓180內。按表9 規定調節水流量,并用流量計測量。

擺管沿垂線兩邊各擺動180^,共約360”,每次擺動(2X360*)約需12 S。
試驗進行10 min.
如果有關產品標準未做規定,被試外殼的支承物應開孔,以避免成為擋水板。將擺管在每一方
向擺動到最大限度,使外殼在各方向都受到濺水。
b)使用圖5 試驗設備(淋水噴頭)的條件
從噴頭上除去平衡重物的擋板,使外殼在各個可能的方向都受到濺水。
水流速度和每單位面積的濺水時間如14.2.3 規定。
14.2.5 第二位特征數字為5 的6.3 mm 噴嘴試驗
用圖6 所示標準試驗噴嘴在所有可能的方向向被試外殼噴水。
要求的試驗條件如下:
a)噴嘴內徑:6.3 mm;
b)水流量:(12.5士0.625)L/min;
c)水壓:按規定水流量調節;
d)主水流的中心部分:離噴嘴2.5 m處直徑約為40 mm的圓;
e)外殼表面每平方米噴水時間:約1min;
f)試驗時間:最少3 min;
g)噴嘴至外殼表面距離:2.5 m~3 m。
14.2.6 第二位特征數字為6 的12.5 mm噴嘴試驗
用圖6 所示標準試驗噴嘴在所有可能的方向向被試外殼噴水。
要求的試驗條件如下:
a) 噴嘴內徑:12.5 mm;
b) 水流量:(100士5)L/min;
c) 水壓:按規定水流量調節;
d) 主水流的中心部分:離噴嘴2.5 m處直徑約為120mm的圓;
e)外殼表面每平方米噴水時間:約1min;
f)試驗時間:最少3 min;
g)噴嘴至外殼表面距離:2.5 m~3 m。
14.2.7 第二位特征數字為7 的0.15 m~1m的短時間潛水試驗
被試外殼按生產廠規定的安裝狀態全部浸人水中,并滿足下列條件;
a) 高度小于850 mm 的外殼的最低點,應低于水面1000 mm;
b) 高度等于或大于850 mm 的外殼最高點,應低于水面150 mm;
c) 試驗持續時間30 min;
d) 水溫與試樣溫差不大于5 K。如果試樣需在帶電和(或)在運行狀態進行試驗時,有關產品標準可對本要求另作規定。
14.2.8 第二位特征數字為8 根據協議的持續潛水試驗
若無相應的產品標準,試驗條件應由生產廠和用戶協商,但條件應比14.2.7 規定的嚴酷而且要考慮到在實際使用中外殼持續潛水的要求。
14.3 接受條件
外殼經14.2.1~14.2.8 規定的試驗后,應檢查外殼進水情況。
如可能,有關產品標準應規定允許的進水量及耐電壓試驗的細節。
一般說來,如果進水,應不足以影響設備的正常操作或破壞安全性;水不積聚在可能導致沿爬電距
離引起漏電起痕的絕緣部件上;水不進人帶電部件,或進人不允許在潮濕狀態下運行的繞組;水不積聚
在電纜頭附近或進人電纜。
如外殼有泄水孔,應通過觀察證明進水不會積聚,且能排出而不損害設備。
對沒有泄水孔的設備,如發生水積聚并危及帶電部分時,有關產品標準應規定接受條件。
15 附加字母所表示的接近危險部件防護的試驗
15.1 試具
驗證防止人接近危險部件的試具按表6 規定。
15.2 試驗條件
將試具以表6 規定的力推向外殼的任何開口。如試具能進人一部分或全部進人,應在每一個可能
的位置上活動,但擋盤不得穿人開口。
內部隔板按3.1規定可視為外殼的一部分。
對于低壓設備的試驗,應在試具與殼內危險部件之間串接一指示燈,并供以40 V~50 V 的安全特
低電壓。如果危險的帶電部件表面有一層漆膜或氧化層或有其他類似方法的保護時,試驗時應包覆一層金屬箔,并與正常工作時帶電的部件作電聯結。
本指示燈電路也可用于高壓設備的危險運動部件。
如有可能,應使外殼內的運動部件緩慢運動。
15.3 接受條件
如果在試具與危險運動部件之間保持足夠的間隙,則試驗合格。
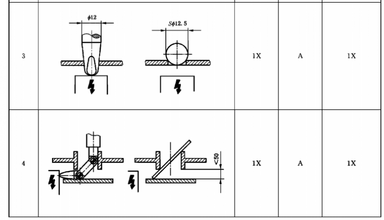
在進行附加字母B的試驗時,鉸接試指可進人外殼80 mm的長度,但擋盤($50 mmX20 mm)不得
通過開口。從直線位置開始,試指的兩個鉸接點應繞相鄰面的軸線在90“范圍內自由彎曲,應使試指在
每一個可能的位置上活動。
在進行附加字母C 和D 的試驗時,試具可進人其全部長度,但擋盤不得通過開口。詳見附錄A。
驗證足夠間隙的條件與12.3.1.12 .3.2 和12.3.3 規定相同。















